
开栏的话
《深网深察》:深网~深潜~深察。穿透信息迷雾,直击网络焦点。深圳新闻网今起推出《深网深察》栏目,让我们一起看见,并深深地洞见。
一家成立于2022年8月17日,只有4名员工的公司,从2023年开始频频拿下深圳市规划和自然资源局、深圳市住房公积金管理中心和法律有关的招标单,是天赋异禀还是神兵天降?律师事务所与法律咨询公司(或法务公司)一直存在的法律服务市场份额、市场价格之争,从暗流涌动的冰面浮出,一时间掀起轩然大波。
中标:4人公司拿下345万元
信访投诉专项法律服务项目
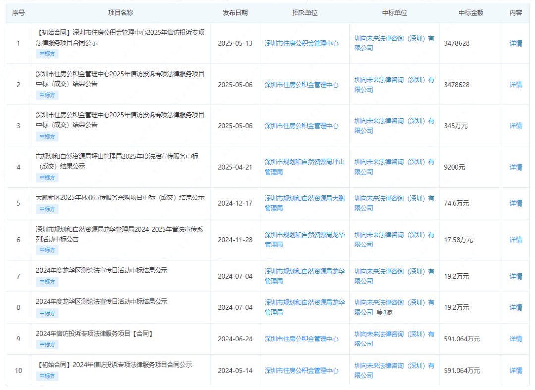
近日,有多个网帖爆料,一家名为“圳向未来法律咨询(深圳)有限公司” (备注:以下简称圳向未来公司) 以投标方式再度拿下深圳住房公积金管理中心2025年度“信访投诉专项法律服务项目”,金额为345万元,实际合同金额为347万8628元。中标公告发布时间为5月6日,合同公示时间为5月13日。
该项目共有5家投标单位,其中两家为律师事务所(德和衡律师事务所,微众律师事务所),两家为科技公司,一家为法律咨询公司。由于两家律师事务所未提供中小企业声明函,失去投标资格,投标评分表为0分。

让网友质疑最大的其中一点就是中小企业声明函的提供。有法律界专业人士核查资料发现,该服务项目招标文件中的通用条款要求提供的“中小企业声明函、残疾人福利性单位声明函、监狱企业声明函” 均为可选项,投标人可根据自身实际情况填写,不符合要求的投标人可以不填写或直接删除相应的声明函。
但是在专用条款中,以上是 必选项。招标文件中特别指出, “当出现‘专用条款’和‘通用条款’表述不一致或有冲突时,以‘专用条款’为准。”
巧合的是,圳向未来公司恰好有以上两个ISO认证证书。
记者注意到,在中标公告中,出价最低的是微众律师事务所的310.3万元。但公告也特别备注,“广东微众律师事务所”和“北京德和衡(深圳)律师事务所”未按招标文件要求提供“中小企业声明函”故不通过资格性审查。
参与投标的两家律所没有提供中小企业声明函,是工作上的疏漏,还是根本就无法提供?记者据此向法律业内人士咨询了解到,律师事务所属于合伙机构,这个合伙机构比较特别的地方在于,律所不需要经过工商管理部门、市场监督管理部门注册,而是直接向司法厅注册。也就是说,律所不是企业,没有营业执照,所以就无法提供“中小企业声明函”。
律师事务所是依据《中华人民共和国律师法》设立,取得由省级司法行政机关颁发的执业许可证(我省发证机关为广东省司法厅)的律师执业机构,是律师唯一的执业机构,其信息可在全国律师执业诚信信息公示平台(进行核实。
法律咨询公司、法律服务公司、法务公司等法律服务机构一般是在市场监管部门或民政部门登记注册,持有《企业营业执照》或《法人登记证书》的有限责任公司、个人独资企业、个体工商户或者社团组织等性质机构,并非律师的执业机构。
那么问题又来了, 有多位律师向深圳新闻网记者提出:政府部门的信访法律工作为什么要针对中小企业来安排呢?难道中小企业比律师事务所更具有专业?此专用条款是否就排除了所有的律师事务所,“因为没有一家律师事务所可以提供中小企业证明。”
据不愿意具名的报料人向记者提供的线索,圳向未来公司中标的某项目拟提供服务的团队人员为6名外聘人员,也是律师,均来自“广东素*律师事务所”,该律师事务所于2023年11月27日设立,执业律师共6人,位于龙华。


也是在去年,圳向未来公司获得深圳住房公积金管理中心2024年度“信访投诉专项法律服务项目”,价值591.064万元。
2023年,圳向未来公司登记在案的参保人数为4人。
起底:两年内拿下上千万大单
这是一家怎样的公司
记者通过企查查可查到的中标公告和合同验收等信息显示,从2023年到2025年,圳向未来公司获得的各项招标项目总金额超过一千万元。
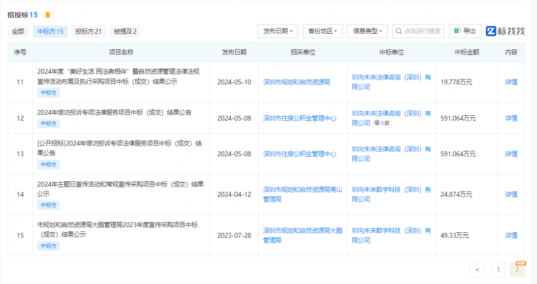
记者不完全统计,从2023年7月28日到2025年5月13日,中标总额为1145.2088元,主要的服务单位除了深圳市住房公积金管理中心(591.06万+347.8628万=938.9228万元)外,多集中于深圳市规划和自然资源局19.778万元及各区管理局(涉及大鹏管理局49.33万元、龙华管理局17.58万元+19.2万元=36.78万元、南山管理局24.874万元、坪山管理局9200元)。
全国各地的法律界人士如今正在以吃瓜的态度围观:这是一家怎样的公司,它为什么能斩落品牌律师事务大所,异军突起?

记者注意到,圳向未来公司成立的几年间, 就登记机关、名称、经营项目范围、管理人员以及投资人等做过几次变更:
2024年4月23日,公司完成了一场令人瞩目的华丽转身,名称由“圳向未来数字科技(深圳)有限公司”,变更为“圳向未来法律咨询(深圳)有限公司”,以“法律咨询公司”的新身份重新登场。
同时,圳向未来公司的一般经营项目也做了变更,增加了“法律咨询”(不含依法须律师事务所执业许可的业务)。记者发现,圳向未来公司的原始经营范围堪称“跨界百科全书”,从电子产品销售到园林绿化工程,从办公耗材制造到体育赛事策划,业务版图五花八门,与法律服务领域可谓毫无交集。然而就在完成名称与经营范围的变更后,这位“跨界选手”竟在政府法律服务采购市场上势如破竹,在一年内连续中标总金额超千万,占公司成立以来总成交额的90%以上。


2025年1月6日,出资人从原来的两人(邹博宇出资额90万,比例90%;王锡霖10万,比例10%),变更为一人(邹博宇100+10万元,比例100%)。市场主体类型由有限责任公司,变更为有限责任公司(自然人)。至此,王锡霖退出持股,也不再担任公司监事。
忧虑:法律服务市场规则及
价格体系被瓦解?
当只有4人参保的法律咨询公司频频拿下政府机关的法律类项目,律师界担忧,法律服务市场的规则秩序以及价格体系正在被瓦解。
据公开资料显示,截至2024年12月,深圳市共有律师事务所1398家,相比上年增加115家,增长8.96%;共有执业律师26983名,较上年增长2352人,实现连续6年增速超9%。
2024年5月16日,司法部公众号披露,司法部、国家市场监督管理总局于近日组成联合调研组赴地方开展实地调研,听取司法行政、市场监督管理等部门和部分法律咨询服务机构、律师事务所意见建议,并实地走访法律咨询服务机构和律师事务所,并将 研究规范法律咨询服务机构有关法律政策措施,营造法律服务良好环境。
一位不愿意透露姓名的律所合伙人认为,这个中标案和以前经常说的法务公司扰乱市场还不一样,那些法务公司可能涉及欺诈,比如说自己是律师实际上不是律师,或者是骗当事人的钱承诺“官司稳赢”等等。这次被爆出来的投标甲方是政府部门及事业单位,那么公众最想知道的是,这类招投标是否公平公正透明?
对此,深圳新闻网记者将继续追踪。
来源:深圳新闻网
记者:张玲 翁任莹
编辑、蔡沐伯
校审:施冰冰、王容、孙研返回搜狐,查看更多